振動篩12年生產廠家
過濾,除雜,分級

75mm/100mm/200mm/300mm 直徑:
125mm-20μm網孔尺寸:
≤200g投料量:
特點:具備0-99分鐘定時功能,可確保試驗的重復性和一致性。
篩框材質:不銹鋼/尼龍/黃銅
篩網類型:金屬絲編織網(2.36mm-0.02mm)、沖孔板篩網(用于大網孔,≥0.2mm)、電成型篩網(高精度:500mm-5μ)

全國統一銷售熱線




實驗室振動篩是指用在科研生產、試驗室、質檢室以及高等院校試驗室對顆粒狀、粉狀物料的粒度結構、液態類固體物含量及雜物量的篩分、過濾、檢測,篩框的直徑常見的多為200mm或者300mm,也可以根據客戶要求定制成400mm,配備時間繼電器,0-99分鐘定時功能,可確保試驗重復性,可將一種顆粒料同時精密分出2—7個粒子段,具有噪音小、重量輕、平臺操作無須固定等特點。

實驗室用300/200型試驗篩國標分析篩又稱300試驗篩或200試驗篩、實驗檢驗篩、標準分析篩、國標試驗篩、實驗室振動篩、試驗室振 動篩、數控試驗篩、數顯試驗篩、驗粉篩、標準篩,是集粉粒分級、液體過濾為一體的標準分析篩;適用于實驗室,質檢室對顆粒、粉類進行粒度結構分析,液 體類固形物含量及雜物量的測試分析。具有噪音低、效率高、精度高等特點。



實驗室振動篩可用于各級高校、研究院等實驗室中測量粒度,可以快速有效地測量125 mm至20μm的固體顆粒尺寸。可以使用孔徑小于20μm的特殊篩網,但應了解,篩網越細,某些類型的顆粒狀固體就越容易堵塞或堵塞孔徑。然而,使用特殊技術可以進行"微"篩分至 5 μm。

實驗室振動篩分為常規機型(200mm、300mm、400mm等型號)、超聲波實驗室振動篩、拍擊式振動篩、磁懸浮實驗室振動篩等四種。
超聲波實驗室振動篩:是在常規機型上增加了超聲波篩分系統,檢驗精度更高更準確,是當前實驗室在做微細粉分樣篩選時網孔堵塞的常用檢驗設備。
拍擊式振動篩:同時具備拍擊和往復兩種振動形式,下料快、不易堵塞,適合實驗室對物料進行篩分檢測,尤其適用于金剛石微粉、超硬材料行業生產分級工序,高強度、大頻率地反復使用。
磁懸浮實驗室振動篩:涵蓋了機械物理振動和高頻電磁振動,集三功能為一體——上下振動、前后往復運動、左右搖擺,使物料在內產生了往復懸轉運動,篩分任何物料都不會殘留在網孔上,細可篩至5微米。

| 序號 | 名稱 | 單位 | 數據 | |
| 01 | 標淮篩體 | 層 | 8 | |
| 02 | 篩體直徑 | mm | φ200 φ100 φ75 | |
| 03 | 篩分粒度 | mm | 0.038-5 | |
| 04 | 噪音 | dB | ≤50 | |
| 05 | 投料量(—次性) | Kg | ≤1 | |
| 06 | 振幅 | mm | ≤5 | |
| 07 | 電機 | 電壓 | V | 220 |
| 轉速 | r/min | 1420 | ||
| 功率 | kw | 0.125 | ||
| 08 | 外形尺寸 | mm | 360×300×736 | |
| 09 | 整機重量 | Kg | 25 | |
實驗室振動篩檢測醫藥顆粒
超聲波試驗篩篩分藥粉
拍擊式振動篩篩分土壤

實驗室振動篩振動原理:以YZU立式振動電機作為整機振動源,通過振動電機帶動上部振動盤振動,再通過振動盤傳導至安放在振動盤上部篩框上,然后由需要檢測目數的篩框把小于篩網孔徑的物料顆粒篩分至下層篩框,如此層層篩選,使每層篩框內只留相同粒度的物料,達到不同粒度的分離并確定此物料的粒度組成,使篩框中的物料能非常有效的起到過濾、分級、篩分目的。




1、開口尺寸為5英寸(125毫米)至635目(20微米),篩分精度高。
2、可單個使用,也可堆疊8層使用(含篩底),可將一種物料連續分成7種不同規格的粒子段。
3、篩框采用SUS304不銹鋼材質拉伸拋光而成,壁厚0.6mm,光澤均勻一致,堅固耐用,無磁性。
4、篩網與篩框通過錫焊成型固定,杜絕松弛晃動問題,可在>300度溫度穩定作業。
5、可裝有自動控制定時器,可設定1-99分鐘,確保實驗的重復性、一致性。

人工手篩費時,勞動強度大,"機械篩分"將篩子按孔徑大小疊在一起,給料放在上面一層篩子上,并加上蓋和底盤,一般疊5-6個篩子,然后放在實驗室振動篩上進行機械振動篩分。通常振動時間為20分鐘,檢測篩分質量時,再用篩機5分鐘,如每分鐘篩下量小0.2%試驗樣量即為合格,對于粗粒,過篩率小于1%即可。為避免損失和延長篩分時間,有時在開始篩分時先用較細的篩子將粉塵篩除。

| 數目 | 網孔(mm) | 數目 | 網孔(mm) | 數目 | 網孔(mm) | 數目 | 網孔(mm) |
| 2 | 13 | 26 | 0.71 | 90 | 0.16 | 260 | 0.06 |
| 3 | 6.5 | 28 | 0.63 | 100 | 0.154 | 280 | 0.055 |
| 4 | 5 | 30 | 0.6 | 110 | 0.14 | 300 | 0.054 |
| 5 | 4 | 32 | 0.55 | 115 | 0.13 | 320 | 0.048 |
| 6 | 3.2 | 36 | 0.5 | 120 | 0.125 | 325 | 0.045 |
| 7 | 2.8 | 40 | 0.45 | 130 | 0.111 | 350 | 0.041 |
| 8 | 2.5 | 45 | 0.4 | 140 | 0.105 | 360 | 0.4 |
| 9 | 2.2 | 50 | 0.355 | 150 | 0.1 | 400 | 0.0385 |
| 10 | 2 | 55 | 0.315 | 160 | 0.098 | 500 | 0.03 |
| 12 | 1.6 | 60 | 0.3 | 180 | 0.09 | ||
| 14 | 1.43 | 65 | 0.25 | 190 | 0.08 | ||
| 16 | 1.25 | 70 | 0.22 | 200 | 0.075 | ||
| 18 | 1 | 75 | 0.2 | 220 | 0.07 | ||
| 20 | 0.9 | 80 | 0.18 | 240 | 0.065 | ||
| 24 | 0.8 | 85 | 0.17 | 250 | 0.063 | ||
| 不銹鋼分樣篩規格,如需特殊規格可聯系在線客服咨詢 | |||||||


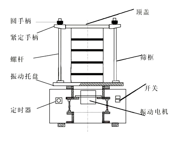
1、設備要水平放置,確認電源和銘牌要求相符,并確保接地;注意振動部分不能與其它物體接觸;檢查各部螺栓是否鎖緊。
2、根據被檢驗物料及相應的標準來確定要選用的標準篩框。
3、把實驗室振動篩篩框按孔徑從小到大,從下到上依次疊放到試驗篩機振動盤上。
4、將被檢驗物料放入上端的標準篩框里,蓋上標準篩上蓋,根據標準篩框的總高度調整調節桿高度,然后用壓板和鎖緊螺母對標準篩框進行定位壓緊(注:兩側用力應一致)。
5、根據物料性質及投料量,在定時器上設定運行時間,然后打開電源開關,標準篩即開始工作。
6、試驗篩工作停止后,擰開鎖緊螺母,取下壓板,小心取走標準篩框。
7、切斷電源。